Product
沈阳鳕柏商贸有限公司
手机:13212345678
电话:0391-1234567
邮编:454981
地址:中国(辽宁)自由贸易试验区沈阳片区创新二路39-4号七层7-5212号
联系人:王先生 (销售 经理)


浏览次数:337
产品摘要:
。若与片式给油器配合使用则可供较大机组更多的润滑点使用。使用WDB型多点电动干油泵,可延长设备使用寿命,改善工作环境,简化维修工作,节省人力及油料
上一个: DB-63型单线干油泵
下一个: 流动车式电动干油泵
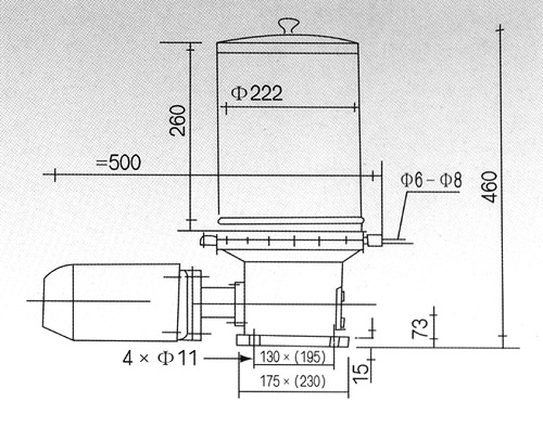
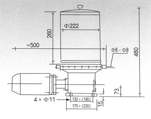
WDB型多点电动干油泵适用于冶金、矿山、锻压、石油、化工、电力、轻工、煤气发生炉等机械单机设备的干油集中润滑。若与片式给油器配合使用则可供较大机组更多的润滑点使用。使用WDB型多点电动干油泵,可延长设备使用寿命,改善工作环境,简化维修工作,节省人力及油料。
使用说明
1、该系列多点干汕泵应安装在环境温度合适,灰尘少,便于补脂、调整、检查、维护保养等都方便的场合。
2、WDB型多点电动干油泵使用前先向减速箱内加入HL-20 齿轮汕至油标规定波而。
3、向干汕泵贮油器内补脂须使用SJB-D60型手动加汕泵或DJB-200 型电动加泵从贮油器的加油口加入,注意在贮器内
无润滑脂时严禁启动电机运转。
4、按贮油桶壁上旋向牌规定的旋向进行电机接线,不得反转。
5、加油口的过滤网精度不低F0.2mm,应定期清洗。
6、干油泵应经常保持清洁,严禁揭盖补脂以免脏物进入泵体内,影响正常工作
结构图
WDB电动干油泵技术参数:
|
多点润滑泵型号 |
出油嘴数量(个) |
出油压力(MPa) |
给油量(ml/min/咀) |
容积 (L) |
电机功率 (KW) |
重量 (KG) |
|
WDB-1~8 |
1~8 |
31.5 |
0.5 |
9-30 |
0.55 |
52.5 |
|
WDB-9~12 |
9~12 |
31.5 |
0.5 |
9-30 |
0.55 |
53 |
|
WDB-13~15 |
13~15 |
31.5 |
0.5 |
20-40 |
0.55 |
58 |
全国服务热线
410-225-05525
Copyright © by Copyright © By 2020-2030 GZtuoma 沈阳鳕柏商贸有限公司
地址: 中国(辽宁)自由贸易试验区沈阳片区创新二路 电话: 17708500830 手机: 15985007746
Copyright© 沈阳鳕柏商贸有限公司 版权所有 网站地图 RSS XML 备案号:辽ICP备2025061029号 技术支持:拓玛传媒

扫一扫,关注我们